网站首页
关于我们
产品中心
新闻中心
在线留言
联系我们
English
简体中文
全国服务热线:0574-62199889 传真:0574-62199885
网站首页
>>
产品
>>
固定座&固定扣&膨胀管
>>
配线固定座
配线固定座
市场价:
¥
0.00
价格: ¥
0.00
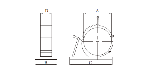
编 号
Item NO.
Aφ(mm)
B(mm)
C(mm)
D(mm)
TS-0608
06-08
9.0
25.5
10
TS-1013
10-13
7.5
37.0
12.4
TS-1722
17-22
21.5
41.5
11
上一个:
保护盖
下一个:
U型线类
扎带
钢钉线卡
接线端子&压线帽&连接器
电缆固定头&配线槽
固定座&固定扣&膨胀管
号码管&套管
冷压端头
工具类
11
产品展示
PRODUCTS CENTER
0574-62198889
联系我们